| Process No. | Case1 | Case2 | Case3 | Case4 | 
| Compressor Total Power [MW] | 74.95 | 82.97 | 79.10 | 76.75 | 
| Input Power by Nitrogen [MW] | 35.07 | 28.36 | 29.82 | 31.06 | 
| Recovered Generated Power [MW] | -3.40 | -3.93 | -3.70 | -3.53 | 
| Total Power [MW] | 106.6 | 107.2 | 105.2 | 104.3 | 
| Minimum Power [MW] | 49.5 | 49.5 | 49.5 | 49.5 | 
| Percent Carnot [%] | 46.4 | 46.2 | 47.1 | 47.5 | 
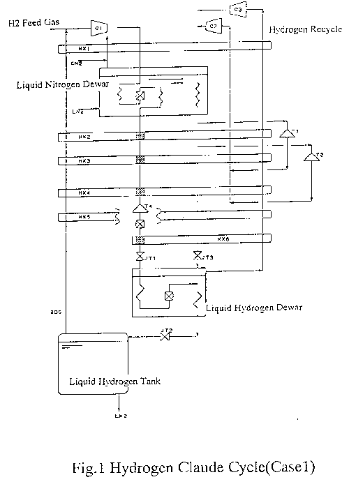
Fig.1 Hydrogen Claude Cycle(Case1)
 
Fig.2 Basic Neon Brayton Cycle(Case2)
 
Fig.3 Neon Brayton Cycle Used Cold Pump(Case3)
 
Fig.4 Reverse Ortho-para Conversion(Case4)
